Jtti新加坡独立服务器测评:ping延迟/丢包率/三网路由/性能和速度
作者:admin 时间:2023-3-30 9:25:14 浏览:本文为Jtti新加坡独立服务器测评报告,内容包括Ping延迟、丢包率、三网路由、服务器性能和速度等。
测评机器配置:E5-2660、16G。
Ping延迟
先看看本地ping的延迟效果,如下所示:

可以看到本地ping的平均延迟在77ms左右,这个延迟对于新加坡服务器来说还是非常不错的,网络相当的稳定,基本上没有丢包的情况。
下面通过工具(如卡卡网的Ping测试)来看看全国三网Ping的平均延迟情况,如下所示:

可以看到三网ping的结果,电信网络延迟在195ms左右,联通网络延迟在77ms左右,移动网络延迟在83ms左右。
丢包率
下面我们再来看看全球各地网络稳定性情况,如下所示:

可以看到全球各地的网络稳定性是很不错的,基本上都没有丢包的情况,偶尔在一两个 节点有丢包,但是整体上还是比较稳定。
三网路由
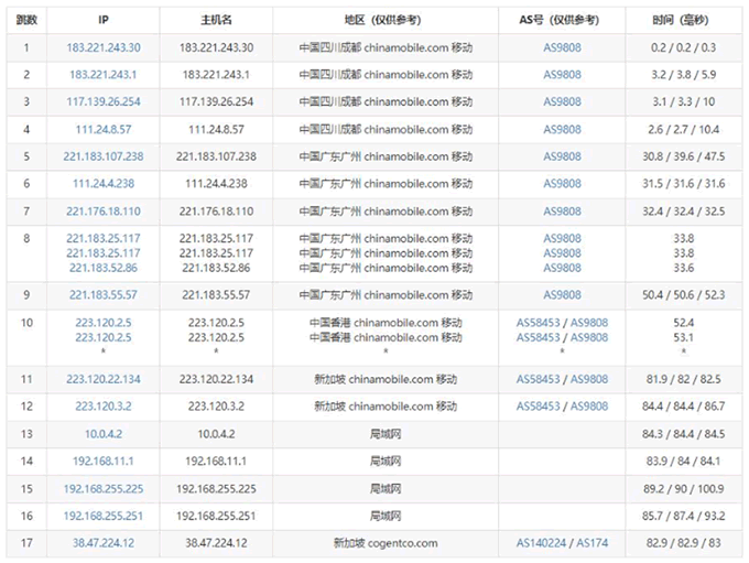
接下来我们再看看三网去程和回城路由线路,第三方工具可用卡卡网的路由追踪:
去程路由
电信去程路由:

电信去程路由是从上海网口出去,经过香港节点后到达新加坡机房,走了59.43的CN2线路。
联通去程路由:

联通去程路由是从广州网口出去,经过香港节点后到达新加坡机房,走AS9929优化线路。
移动去程路由:

移动去程路由是从广州网口出去,经过香港节点后到达新加坡机房,走移动CMI线路。
回程路由
电信回城路由:

电信回程路由是经过香港节点直连国内网口,走59.43的CN2线路。
联通回城路由:

联通回程路由经过香港节点后直连国内网口,走的是AS9929线路。
移动回程路由:

移动回程路由是从新加坡机房直连回到国内网口,走的是移动CMI线路。
总结下:电信双向CN2、联通双向AS9929、移动双向CMI,都是直连线路。
服务器的性能和速度
下面我们再看看Jtti这款新加坡独立服务器的性能和速度怎么样,如下所示:

可以看到服务器使用的是2.2GHz处理器,磁盘WO达到了267MB/秒,这个性能还是相当不错的。
上传和下载速度都到达了20Mbps,基本跑满了整个机子的带宽。
结论
以上就是关于Jtti的新加坡独立服务器的相关测评介绍,整体来说这款新加坡独立服务器性能还是可以的,三网网络状况都很不错,而且性价比很高,有需要新加坡服务器的用户可以参考选择。
Jtti公司简介
Jtti是一家正规专业的新加坡服务商,具备相应的营业资质,拥有bizfile证书,ACRA证书,主要经营新加坡/中国香港/美国的云服务器,物理服务器。拥有专业的技术团队,资深精英人才常驻,行业经验丰富,机房拥有CN2 GIA+BGP线路,线路稳定,速度快,适合海内外用户使用。
更多评测文章
- Jtti香港独立服务器测评:Ping延迟/丢包率/三网路由/性能和速度
- Jtti新加坡云服务器测评:网络稳定性/路由追踪/下载速度/主机性能
- Jtti美国独立服务器测评:Ping延迟/网络稳定性/路由追踪/性能和速度
- Jtti香港云服务器测评:Ping延迟/网络稳定性/路由追踪/性能和速度
最新优惠



